Hallo,
jetzt, 1000km später, ist das Ruckeln/ Stottern mit Ausgehen wieder aufgetreten. Nach Reinschütten von Diesel-Systemreiniger ist es jetzt 100km lang nicht mehr aufgetreten. Der Fehlerspeicher zeigt nichts an, vielleicht ist der Fehler aber 100km später auch schon wieder gelöscht.
Wie auch immer, ich muss wohl noch weiter nach dem Fehler suchen. Den Kurbelwellensensor habe ich noch nicht getauscht.
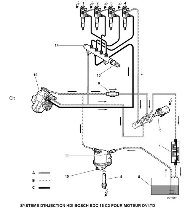
Emma65 hatte empfohlen, als erstes das Kabel des Kraftstoffhochdruckfühlers zu tauschen. Das ist laut Abb. ein etwa 40cm langes dreiadriges Kabel.
Die Dieselpumpe ist doch rechts hinter dem Motor?
"Gefühlt" scheint das in einen Kabelbaum zu münden.
Ist das
dieses Kabel?
Ist es das auf dem Bild sichtbare Kabel?
Gruss, wonk